Požáry v budovách po celém světě způsobují velké ztráty. Pro zabránění ztrát vlivem požáru stavby dělíme na požární úseky pomocí konstrukcí s odpovídající požární odolností, abychom lokalizovali požár a ochránili lidské životy a zdraví lidí. Dalším důvodem k dělení na požární úseky jsou ekonomické ztráty. Podstatná jsou také nenahraditelná data, historicky významná díla a technologická zařízení, která jsou součástí požárních úseků. V těchto případech je nutno včas detekovat požár. V současnosti existuje velké množství zařízení k detekci požáru. Jsou mezi nimi jak levnější a jednodušší systémy, tak i ty dražší. Nejčastější využití nacházejí zařízení s nízkými pořizovací náklady a zároveň nenáročná na údržbu během provozu. Dražší zařízení nehledě na spoustu výhod jsou používána zřídka a jsou mezi nimi i nasávací hlásiče požáru.
Jedním z často se vyskytujících provozů, kde bývají instalovány nasávací hlásiče požáru, jsou místnosti serveroven. Jsou k tomu dva podstatné důvody: instalace drahých zařízení a nenahraditelná data. V tomto článku se zabýváme významnou otázkou související s instalací a funkčností hlásičů požáru – stanovením rozdílu v době reakce mezi ionizačním hlásičem a nasávacím hlásičem požáru v serverovně středních rozměrů pomocí programu Fire Dynamics Simulator (FDS).
Nasávací hlásiče požáru a ČSN 54-20
Hlásiče nasávací (aspirační, ASD – aspirating smoke detector) se instalují podle pokynů výrobce. Jejich provedení musí odpovídat ČSN EN 54-20. Umístění nasávacích hlásičů se provádí v závislosti na stanovené třídě citlivosti (A, B nebo C). Vzorkovací trubky a armatury musí mít potřebnou mechanickou pevnost a tepelnou odolnost podle ČSN EN 61386-1 ed. 2 nejméně ve třídě 1131 [1]. Toto označení pro deklarovanou odolnost trubkového systému v sobě nese informaci o čtyřech parametrech, resp. o čtyřech deklarovaných třídách: 1. číslice – odolnost vůči stlačení, 2. číslice – odolnost vůči nárazu, 3. číslice – rozsah nízkých teplot a 4. číslice – rozsah vysokých teplot.
Samotná ČSN EN 54-20 je českou verzí evropské normy EN 54-20, která byla zpracována Technickou komisí CEN/TC 72 Elektrická požární signalizace. Původní norma byla schválena 18. května 2006 a má status české technické normy. Následně byla v lednu 2007 představena česká verze a má stejný status jako oficiální norma.
Definice nasávacího hlásiče kouře je uvedená v normě ČSN EN 54-1 Elektrická požární signalizace – Část 1: Úvod a zní takto: „Nasávací hlásič je kouřový hlásič, do kterého je přes vzorkovací zařízení přiváděn vzduch a aerosoly k jednomu nebo několika elementům citlivým na kouř pomocí zabudovaného nasávacího přístroje (např. sacího ventilátoru nebo vývěvy)“ [2].
Dále norma rozlišuje 3 klasifikační třídy [3]:
▪ A – Nasávací hlásič s velmi vysokou citlivostí – velmi časná detekce, aplikován nejčastěji pro detekci velmi zředěného kouře, například vstupujícího do klimatizačních kanálů, pro detekci extrémně zředěných koncentraci kouře;
▪ B – Nasávací hlásič se zvýšenou citlivostí – časná detekce, například detekce speciálního požáru uvnitř nebo v blízkostí zvláště hodnotných, napadnutelných nebo kritických objektů, jako jsou skříně počítačů nebo elektronických zařízení;
▪ C – Nasávací hlásič s normální citlivostí – standardní detekce, obecná detekce požárů v normálních místnostech nebo prostorách, poskytující například alespoň rovnocennou úroveň detekce jako systém bodového nebo lineárního typu hlásiče kouře.
Nedílnou časti normy jsou zkoušky, díky kterým dochází k certifikaci klasifikační třídy zkoušeného výrobku. Celkem je výrobek podroben 14 zkouškám: opakovatelnost, reprodukovatelnost, kolísání napájecích parametrů, suché teplo, chlad, vlhké teplo – konstantní (provozní zkouška a zkouška odolnosti), koroze oxidem siřičitým, ráz, úder, vibrace sinusové (provozní zkouška a zkouška odolnosti), elektromagnetická kompatibilita – zkoušky odolnosti, požární citlivost [3].
Princip, funkce a prvky nasávacího systému
Nasávací hlásič požáru provádí nucený odběr vzorku vzduchu ze sledovaného prostoru a následně jej kontroluje na obsah kouřových částic. Vyhodnocování vzorku probíhá pomocí optické metody v detekční zóně při použití světla o dvou vlnových délkách (modrého a infračerveného). Dále rozptýlené světlo pokračuje k přijímači světla a následuje vyhodnocení obsahu šumu v přijatém světle (obr. 1). Hlásiče jsou schopny s vysokou přesností určit rozměry částic i jejich koncentraci ve vzduchu a díky tomu rozlišit, zda jde o kouř, nebo prach. Celý systém se skládá ze tří prvků:
▪ nasávací trysky – slouží k odběru vzorku vzduchu,
▪ transportní potrubí – dopravuje vzorek k vyhodnocovací jednotce,
▪ ASD – nasávací kouřový hlásič – vyhodnocuje nasáté vzorky.
![Obr. 1: Schéma vyhodnocovací jednotky [4] Obr. 1: Schéma vyhodnocovací jednotky [4]](https://demo.imaterialy.cz//wp-content/uploads/obrazky/6007d6c602394/hlasice01-6007d915771e4_382x200.jpg)

Použití
Hlásiče jsou převážně instalovány v místnostech, kde rychlost reakce hraje nezastupitelnou roli. Jedná se o tyto typy staveb nebo místnosti:
▪ nenahraditelné památky (muzea, kostely a galerie),
▪ technologická zařízení (laboratoře, výpočetní centra, elektrárny, strojovny, operační sály),
▪ objekty, kde jsou stěžejní podmínky evakuace (věznice, nemocnice),
▪ prostory, kde jsou uchovávána nenahraditelná data (serverovny, archivy),
▪ nedostupná místa pro lidi (šachty, rozvodny).
Řešený příklad
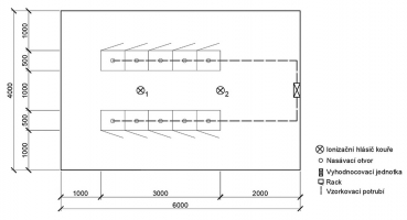
Řešený příklad je zaměřený na projektovaní nasávacího hlásiče požáru a porovnání času vyhlášení poplachu za použití ionizačního hlásiče kouře. Pro praktickou část byla zvolena serverovna středních rozměrů 6×4 m (obr. 2). Příklad je modelován v programu FDS. Jednotlivé skříně (racky) jsou rozmístěné do dvou řad a vytvářejí mezi sebou teplou uličku. V každé řádě je pět racků. Rozměry jednoho racku jsou 0,6×0,5×2,0 m. Nad každým rackem je 5 cm pod stropem umístěn otvor nasávacího hlásiče kouře. V polovině šířky místnosti a ve třetinách délky jsou umístěny bodové ionizační kouřové hlásiče. Pro modelování nasávacích hlásičů je podstatné použití skutečných hodnot, což je rychlost proudění a čas potřebný k transportu vzorku k vyhodnocovací jednotce. Z tohoto důvodu byl zvolen reálný výrobek Siemens FDA221 s nastavením pro klasifikační třídu B. Výrobce poskytl program Asyst (F-FXS2056) [7], díky kterému byly potřebné hodnoty spočteny. Dle technické dokumentace výrobce pro vyhlášení poplachu byla zvolena hodnota zakouření 0,2 %/m. Pro nastavení ionizačního hlásiče kouře jsou použity výchozí hodnoty z uživatelské příručky programu FDS – k vyhlášení poplachu dojde po překročení hodnoty zakouření 3,24 %/m [5].
Jako požární scénář jsme zvolili požár serveru. Průběh požáru serveru nebyl k dispozici, proto byl jako analogický použit průběh požáru TV setu [6]. Dle mého názoru nejlépe vystihuje požár serveru, kdy je během prvních tří minut výkon minimální (1 kW). Zdroj požáru je umístěn v levém krajním racku ve výšce 0,34 m (obr. 3, označen červeně). Poloha zdroje byla zvolena co nejníže a zároveň s nejdelším časem pro transport vzorku k vyhodnocovací jednotce nasávacího hlásiče požáru, který je v našem případě 9,3 sekundy. Hodnota byla stanovena pomoci programu Asyst (F-FXS2056).
Výsledky modelování jsou vidět v grafu na obr. 4. Nasávací hlásič požáru vyhlašuje poplach v čase 34 sekundy, kdy hodnota kouře překročí 0,2 %/m. Ionizační hlásič č. 1 vyhlašuje poplach o 17 sekund později – v čase 51 sekund. Ionizační hlásič č. 2 zareaguje v 175 sekundě.


Závěr
Ze získaných hodnot je vidět výrazně vyšší rychlost vyhlášení poplachu nasávacím hlásičem kouře v porovnání s ionizačními hlásiči. V řešeném přikladu byl očekáván větší časový rozdíl v reakci mezi použitými hlásiči. Nicméně v FDS modelu byla pro detekci požáru u obou typů hlásičů použita pouze limitní hodnota zakouření (% obs/m), zatímco pokročilé nasávací hlásiče jsou navíc doplněny o výpočetní algoritmus, který započítává i např. fluktuaci požáru (výkyv homogenity odebraného vzorku), což rychlost detekce ještě zvýší. Pro přesnější výsledky by bylo vhodné stanovit průběh požáru přímo pro server.
PAVEL KUZNETSOV
Literatura:
1) ČSN 34 2710. Elektrická požární signalizace – Projektování, montáž, užívání, provoz, kontrola, servis a údržba. Praha: ÚNMZ, 2011.
2) ČSN EN 54-1. Elektrická požární signalizace – Část 1: Úvod. Praha: ÚNMZ, 2011.
3) ČSN EN 54-20. Elektrická požární signalizace – Část 20: Nasávací hlásiče. Praha: ÚNMZ 2007 +O1: 2009.
4) Siemens Schweiz AG. Aspirating Smoke Detection. White paper, ASD technology. 2015.
5) McGRATTAN, Kevin, Simo HOSTIKKA, Randall McDERMOTT, Jason FLOYD, Craig WEINSCHENK a Kristopher OVERHOLT. Fire Dynamics Simulator User’s Guide. NIST Special Publication, 288.
6) SÄRDQVIST, Stefan. Television sets Y1/20-21. In: Initial fires – RHR, Smoke Production and CO Generation from Single Items and Room Fire Tests. B.m.: Swedish Fire Research Board (BRANDFORSK), 1993.
7) Siemens Switzerland Ltd. Building Technologies Division. ASD ASYST – TOOL V2: USER GUIDE, 2018.
Bc. Pavel Kuznetsov (*1993)
– studuje obor intergrální bezpečnost staveb na Fakultě stavební ČVUT. Příspěvek zazněl na konferenci Zapálení 2019, vedoucím práce je Ing. Pavla Pechová, Ph. D.




