Cílem článku je navázat na první a druhý díl, které vyšly v minulém roce ve vydáních časopisu Materiály pro stavbu č. 5 a 6/2021 [1] a [2] a seznámit s dalšími výsledky vývoje předpjatého dřeva.
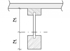
Ve druhém pokračování článku bylo popsáno řešení, ve kterém je k základnímu nosníku připojena příložka jen z jedné strany, a to buď k hornímu, nebo k dolnímu povrchu. Následující řešení umožňuje podstatně zmenšit předpínací síly. Přispívá k tomu úprava základního nosníku z krajních hranolů, kdy hranol bližší k příložce má vůči druhému hranolu menší dimenze (obr. 1). Všechny vzorce, uvedené v [1], přitom zůstávají, pouze u vzorce (5) je třeba zavést místo zd hodnotu zdh , resp. zdd .
Nové řešení, založené na dvouvrstvé koncepci, zmenšuje počet příložek a vrstev spojovacího prostředku na polovinu, a přitom zvětšením hmotnosti dolní části průřezu základního nosníku na úkor hmotnosti horní části průřezu základního nosníku se dostává k efektivní třívrstvé koncepci a dosahuje úspor na materiálu a pracnosti.
-629899e08dddc_247x180.jpg)
Číselné příklady
Použijeme vzorce (1 až 6) z [1].
1. příklad. Střešní panel rozpětí 36 m široký 2 m a tlustý 0,68 m, kdy byly použity čtyři základní nosníky 1 typu I o délce 36 m, mající horní pásnici 1b 240 mm x 120 mm a spodní pásnici 1a o rozměrech 240 mm x 120 mm z lamelového dřeva, spojené užší svislou stěnou 1c o tloušťce 40 mm a výšce 400 mm z překližky (obr. 2). Na horní plochu horní pásnice 1b se aplikoval spojovací prostředek 3 ve formě lepidla a poddajná příložka 2 z lamelového dřeva o tloušťce 80 mm. Základní nosník 1 se pak položil spodní plochou pásnice 1a na dvě krajní podpory. Působením předpínací síly došlo k požadovanému prohnutí základního nosníku 1 652 mm. Po aktivaci spojovacího prostředku 3 a spřažení poddajné příložky 2 se základním nosníkem 1 se výsledný dvouvrstvý nosník odstranil z podpor 4. Takto vzniklý dvouvrstvý nosník se pak osadil do stavby, kde se po zatížení střešním souvrstvím a sněhem 100 + 100 kg/m2 prohnul při E = 1,4.104 MPa o požadovaných 67 mm, tlakové napětí v příložce dosáhlo 15,0 MPa a tahové napětí ve spodní pásnici 13,9 MPa.

2. příklad. Střešní panel rozpětí 36 m, široký 2 m a tlustý 0,68 m, kdy byly použity čtyři základní nosníky 1 typu I o délce 36 m, mající horní pásnici 1b o rozměrech 240 mm x 50 mm a spodní pásnici 1a o rozměrech 240 mm x 190 mm, vše ostatní jako v příkladu 1. Působením předpínací síly došlo k požadovanému prohnutí základního nosníku 1 369 mm, což je < < 652. Po aktivaci spojovacího prostředku 3 a spřažení poddajné příložky 2 se základním nosníkem 1 se výsledný dvouvrstvý nosník odstranil z podpor. Takto vzniklý dvouvrstvý nosník se pak osadil do stavby, kde se po zatížení střešním souvrstvím a sněhem 100 + 100 kg/m2 prohnul o požadovaných 67 mm, tlakové napětí v příložce dosáhlo 12,2 MPa, což je < 15,0 a tahové napětí ve spodní pásnici 10,0 MPa, což je < 13,9.
Ke stejným výsledkům by se došlo i v případě, že by příložka 3 byla osazena zdola (jako tažená).
Závěr
Ve článcích [1] a [2] a v tomto jejich pokračování byla na příkladech prokázána efektivnost předpínání dřeva. Po více než dvaceti letech praktického předpínání hektarů starých dřevěných stropů přerostla v posledních letech tato aktivita do ideových návrhů třívrstvých a nakonec i dvouvrstvých sestav dřevěných konstrukcí a vznikl tak nový stavební druh – předpjaté dřevo.
Autor se články obrací k investorům, výrobcům a projektantům dřevěných konstrukcí s nabídkou na realizaci myšlenky předpínání při rozvíjení dřevěného stavění.
VÁCLAV ROJÍK
Prof. Ing. Václav Rojík, DrSc. (*1930)
– absolvoval Stavební fakultu ČVUT v Praze. Od šedesátých let po jmenování docentem a řádným profesorem v oboru teorie a konstrukce pozemních staveb a po studiu v zahraničí vedl na fakultě obor pozemní stavby a katedru konstrukcí pozemních staveb. Vedle vědeckovýzkumné a pedagogické činnosti spolupracuje jako expert, projektant a dodavatel konstrukcí, zejména v oblasti rekonstrukce budov. Je soudním znalcem v oboru stavebnictví se zvláštní specializací pro teorii konstrukcí budov, autorizovaným inspektorem, autorem několika stovek výzkumných a vývojových zpráv a publikací a desítek patentů a užitných vzorů.
Odkazy na práci autora:
[1] Velkorozměrný střešní panel z předpjatého dřeva, čas. Materiály pro stavbu č. 5, 2021
[2] Velkorozměrný střešní panel z předpjatého dřeva (2), čas. Materiály pro stavbu č. 6, 2021


Nejnovější komentáře