Tato závěrečná část navazuje článek s podtitulem Provádění – 1. část, kde jsou zmíněny zásady provádění PHI pomocí difuzních fólií nejen v ploše střechy, ale ve všech běžných detailech, jako je štítová hrana, hřeben, nároží a úžlabí.
Napojování PHI na prostupy
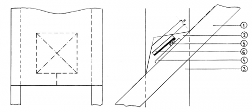
I u prostupů platí stejné zásady, které se liší podle toho, je-li PHI volná bez bednění, nebo na bednění či s utěsněním. Jedno však je zde společné: okraje fólie kolem prostupu musí být vytaženy vzhůru nejméně 5 cm nad nejvyšší bod kolem položené krytiny. Na obr. 19 a 21 je velice tristní pohled na prostup komínového tělesa fólií.



To opravdu není naaranžováno pro účely tohoto pojednání. Je to bohužel spíše standardní provedení než ojedinělá výjimka. Je mimo pochybu, že tímto prostupem nafouká spousta sněhu, viz obr. 20, a co zůstalo na fólii, to při tání steče kolem komína.

1 – krokev, 2 – fólie, 3 – komínové těleso, 4 – kontralať, 5 – střešní lať, 6 – střešní taška
Vytažení fólie nad krytinu o min. 5 cm platí u všech podobných prostupů a nástaveb, např. napojení fólie na boky pultového vikýře, napojení na požární zeď, lemování štítové hrany apod.


Na obr. 24 je neodborně proveden svislý prostup odvětrání kanalizace. I když již řadu let je součástí střešního příslušenství Bramac prostupový systém DuroVent, který umožňuje snadné a zároveň velmi bezpečné napojení kolmého prostupu fólií pomocí napojovací manžety, viz obr. 26, přece jen nelze vyloučit potřebu řešit svislý prostup. Princip je vidět na obr. 25. V oblasti prostupu se provedou tři střihy ve tvaru písmene H, přičemž boční střihy jsou nad prostupem dále od sebe než pod prostupem. Volné cípy se pak sponami připevní k nejbližší lati.
Na obr. 26 je zřejmé dokonalé utěsnění kolmého prostupu napojovací manžetou tvořící významnou součást systému prostupů Bramac DuroVent.


Na obr. 27 je těsné napojení svislého prostupu na PHI pomocí pásky tvarovatelné ve 3D. Na rubu pásky je vrstva butylkaučuku, zakrytá separační fólií. Separační fólie jsou obvykle v polovině své šířky perforované pro snadné odtržení jen polovičního dílu separační fólie. Touto plochou se pásek přiloží na fólii a postupně se snadno naformuje do tvaru límce kolem prostupu. Následně se sejme druhá polovina separační fólie a touto plochou se pásek přilepí k bokům prostupu. Jednoduché, bezpečné, trvanlivé, elegantní, zkrátka profesionální.

Odvodnění pojistné hydroizolace
Nevěřím, že po pojistné hydroizolaci by někdy stékaly potoky vody, samozřejmě za předpokladu, že je krytina dobře položená včetně provedení všech detailů napojení klempířskými prvky. V našich klimatických podmínkách však vůbec nelze pominout vodu z tajícího sněhu, navátého pod krytinu, a to i v Praze. Jak to vypadá v okapní hraně, není-li PHI odvodněna je vidět na obr. 28.


Na to pamatuje ČSN 73 1901, která stanovuje pro případ provedení PHI v konstrukci šikmé střechy její spolehlivé odvodnění v okapní hraně. Jako příklad takového odvodnění uvádí montáž zdvojených žlabů.
Tento požadavek je možná opodstatněný u střech o velké délce krokví a o malém sklonu. V běžných případech však tento úkol spolehlivě splní okapnice, ať zaústěné za zadní naválkou dovnitř níže položeného žlabu nebo mimo žlab v případě výše položeného žlabu (obr. 29, 30). Odvodnění okapnice do žlabu by se mělo provádět přednostně zejména tehdy, je-li sklon střechy menší než bezpečný sklon stanovený pro daný model tašky, u střech s délkou krokví nad 10 m a tam, kde lze rozumně předpokládat vyšší zatížení sněhem.


K zamezení průniku vody kapilárním vzlínáním mezi fólií a okapnicí je třeba toto napojení spolehlivě utěsnit. Jsme v nejnižší partii střechy, tedy tam, kde bude protékat největší množství vody nejen po krytině, ale i po fólii, byť by se jednalo jen o vodu z tajícího sněhu, který byl navát pod krytinu. Proto je třeba provedení PHI v okapní hraně věnovat tu největší péči.
Předně je třeba se vyvarovat vzniku vodních pytlů tam, kde fólie není ničím podložena. Čím je menší sklon střechy, tím je větší riziko jejich vzniku. Proto je třeba první pás fólie pokládat s co největším vypnutím. Lépe lze vypnout pás o poloviční šířce.

Na obr. 31 je vidět vodní pytel vzniklý v důsledku osazení podhledových prken přímo na horní plochu krokví (bez zadlabání). Je to častá chyba, a přitom se jí lze snadno vyhnout, viz schéma na obr. 32. Fólie musí být vždy ve spádu, kontralatě B označené pozicí 5 mají jen takovou tloušťku, aby s palubkami byly ve stejné výšce jako kontralatě A ve střešní ploše. Je však zřejmé, že při montáži okapní latě na výšku by byla potlačena funkce větrání střechy, a proto je okapní lať uložena naplocho a na ní je namontována univerzální větrací mřížka s dostatečným průřezem pro přívod vzduchu.

Legenda: 1 – kontralať A, 2 – fólie, 3 – krokev, 4 – klínové prkno, 5 – kontralať B, 6 – palubky, 7 – univerzální větrací mřížka, 8 – okapní lať, 9 – okapnice.
Pochopitelně, že při osazení podhledových palubek do dlabů v krokvích toto řešení ztrácí smysl.
Závěr
I když je nepochybné, že jsou a budou navrhována zastřešení ze skládaných krytin bez jakéhokoli doplňkového opatření (PHI), aniž by tím utrpěla jejich spolehlivost, přece jen takové případy patří k výjimkám. V drtivé většině zastřešení ze skládaných krytin obsahují a budou obsahovat nezbytné doplňkové opatření zvyšující bezpečnost střechy proti vnější vodě a sněhu. To není příznak nějakého fatálního selhání skládaných krytin jako takových. Skládané krytiny byly první materiál, který člověk začal používat pro zastřešení staveb a jak dokazuje jejich zdokumentovaná tři tisíce let dlouhá historie, fungovaly vesměs vždy spolehlivě.
To, že se prosazují střechy s pojistnou hydroizolací, je výrazem mnohem vyšších nároků na střechy, než tomu bylo třeba před sto lety. Jedním z nových nároků je např. i samozřejmě očekávaná bezúdržbovost zastřešení (pochopitelně s výjimkou následků působení povětrnostních extrémů). I té nejvyšší spolehlivosti zastřešení bývalo však běžně dosahováno i v dávné minulosti. Ukládání tašek do malty nebo zamazávání spár činilo takové zastřešení zcela bezpečné proti vodě a sněhu. Problém tkvěl v životnosti těchto tehdejších technologií. Zcela určitě nebyly bezúdržbové. Proto dostal pojem doplňkového opa-tření podobu vkládané mezivrstvy o životnosti srovnatelné s vlastní krytinou.
Před pětadvaceti lety existoval velmi úzký výběr materiálů pro realizaci tohoto záměru – asfaltová lepenka, pojistné desky z lisovaných pilin či cementovláknité desky a první difuzní fólie s mikro-perforací. Za tu poměrně krátkou dobu však nabídka materiálů pro PHI včetně příslušných systémových příslušenství doznala takové šíře, že je dnes spíš problém se v ní orientovat s cílem volby optimálního řešení. Bylo by jistě velice snadné si problém ulehčit globální volbou nejbezpečnějšího řešení,
tj. návrhem vodotěsného podstřeší, pochopitelně za cenu nejvyšších možných nákladů. Jenže náš cíl je vždy najít optimální řešení, tj. takové, které bude poskytovat dostatečnou bezpečnost při vynaložení minimálních nákladů.
Nestačí jen vědomí existence tzv. zvýšených požadavků kladených na střechu, které vyplývají z působení různých faktorů. Je zároveň nezbytné si uvědomit míru případných škod vyplývajících z relevantních zvýšených požadavků. Mnohdy tak dospějeme k závěru, že i přes tyto zvýšené požadavky je návrh jim odpovídajícího doplňkového opatření neefektivní, neboť případné škody jsou prostě zanedbatelné, nebo dokonce žádné. Někdy dokonce návrh nadbytečné pojistné hydroizolace vede k potřebě návrhu dalšího opatření, jak tuto PHI chránit (např. před působením UV záření). Tuto úvahu lze pojmout mnohem podrobněji, snad v některém příštím článku. Nicméně o adekvátnosti návrhu PHI ve většině případů není pochyb, je však nezbytné pojímat každý případ individuálně a hlavně komplexně, jak jsem se snažil ukázat tímto článkem.
MILAN HOLEC
foto archiv autora
Ing. Milan Holec (*1946)
byl po absolvování ČVUT Praha zaměstnán v různých průmyslových podnicích převážně se stavební orientací, naposledy ve firmě Bramac střešní systémy, spol. s r. o., jako vedoucí oddělení technických expertíz.





